HƯỚNG DẪN LẮP ĐẶT BÀN HỌC GIÁ SÁCH 1M4


Thứ tự lắp đặt:
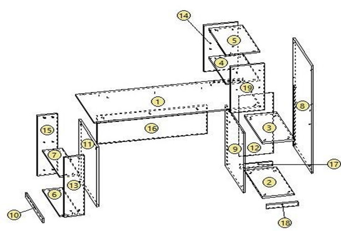
B1: Lắp tấm số 2; 3 vào tấm số 8 bằng vít cam.
B3: Lắp tấm số 1 và hậu số 12
B4: Lắp tấm số 4; 5 vào tấm 19 và 14, sau đó lắp vào tấm 8
B5: Lắp tấm 6;7 vào tấm 13 và 15, sau đó lắp vào tấm 11 B6: Lắp chân số 10; 17 và 18 bằng ke vuông.
B7: Lắp cánh và ngăn kéo hoàn thiện sản phẩm

HƯỚNG DẪN LẮP BẢN LỀ

1, Lắp bản lề vào cánh và thân
2, Căn chỉnh bản lề bằng vít ( khe hở cánh so với khung khoảng 3mm mỗi chiều )
HƯỚNG DẪN LẮP NGĂN KÉO

Lắp tầng to nhất vào hộc, lắp tầng nhỏ vào thùng ngăn kéo bằng vít 1
Các mẫu sản phẩm của Nội thất Tada thường được dùng chủ yếu là gỗ MDF lõi xanh chống ẩm.
Khác với gỗ MDF thường, gỗ MDF lõi xanh có khả năng chống ẩm, mốc, mối mọt vượt trội. Đặc biệt, khí hậu Việt Nam mang tính chất nóng ẩm, độ ẩm không khí cao, nhiệt độ cao nên sự thay đổi nhiệt độ đột ngột sẽ khiến cho các loại gỗ công nghiệp thông thường hay bị nứt, hay ẩm mốc, bung nổ khi thay đổi nhiệt độ đột ngột. Với tính năng ưu Việt, khả năng chống nước vượt trội, độ co dãn, đàn hồi tuyệt đối. Có thể chống nước khi độ ẩm cao, nhưng vẫn đảm bảo độ dãn vừa đủ khi nhiệt độ tăng.
Sử dụng gỗ MDF lõi xanh đảm bảo không cong vênh, không co ngót hay mối mọt như các loại gỗ tự nhiên. Đảm bảo bề mặt phẳng nhẵn, bóng, mịn, số lượng và trọng lượng sợi gỗ nhiều hơn, đồng đều hơn.
TADA Việt Nam là công ty chuyên sản xuất và cung cấp kệ trang trí, kệ treo tường , sản phẩm nội thất phòng ngủ hiện đại,phòng khách hiện đại, chất lượng cao, giá cả hợp lý.
Quý khách quan tâm vui lòng liên hệ hotline để được tư vấn tận tình:
☎ HOTLINE: 090.609.2262/ 0909.568.626
🖥 Website: http://tadavietnam.com/ https://tadavietnam.vn/
🏬Showroom: Hà Nội: Số nhà A10-TT16, ngõ 248 Chiến Thắng, Hà Đông thành phố Hà Nội.
🏬 Showroom Hồ Chí Minh: Số 10/16 Đông Hưng Thuận 21, f Đông Hưng Thuận, Q12, HCM.
🏬 Showroom Aeon: Tầng 3, TTM Aeon Hà Đông, Long Biên, Hà Nội.
🏬 Nhà máy: Khu công nghiệp Thanh Oai, xã Bích Hòa, huyện Thanh Oai, Hà Nội.

Bạn đã thêm vào giỏ hàng 



